info@chateaugontier-agribtp.com (+33) 09 70 70 29 06 | Lun – Ven : 08h à 20h
Caractéristiques techniques:
Charge maxi: 650 Kg
Poids à vide: 270 Kg
Commande par Joystick
Amortisseur de choc via boule d’azote
Vérin hydraulique de levage:
Ø piston: 50 mm
Ø tige: 32 mm
Vérin hydraulique de bennage:
Ø piston: 50 mm
Ø tige: 32 mm
Verrouillage du chargeur: Axe
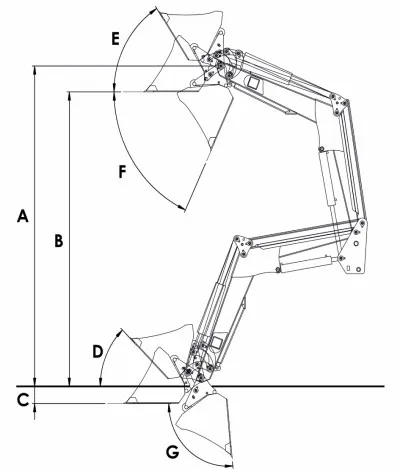
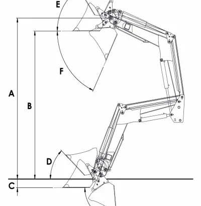
Dimensions:
Hauteur de levage à l’axe de rotation A: 2.8 m
Hauteur sous outil plat B: 2.5 m
Profondeur de terrage C: 100 – 150 mm
Angle de fermeture position basse D: 46°
Angle de fermeture position haute E: 58°
Angle de bennage en position haute F: 61°
Angle de bennage en position basse G: 60°




Il n'y a pas encore d'avis.